5c Коллете Чак

Функции и преимущества

Т.IR : 0,0006 ”max.rpm6000

Закаленная и точная земля

Легкая работа , безопасное применение , сильное

зажим , и т.д.

5C Collet подходит для этого устройства, которое может закрепить Rool или заготовку с различным диамером и рисунком.

На токарном станке, мельнице и другом специальном оборудовании, с такими страхами, как высокая точность, легкая эксплуатация, безопасное применение, сильное

зажим .etc


информация о продукте

Описание продукта

5C Collet Chover является эффективным приспособлением, широко используемым в точной обработке, которая специально предназначена для быстрого зажима цилиндрических заготовков. Его стандартизированный интерфейс 5C обладает сильной совместимостью, и он подходит для точек, шлифовальных машин, индексационных головок и автоматических обработчиков, особенно для сцен массового производства, которые требуют высокой точностью и быстрой замене.



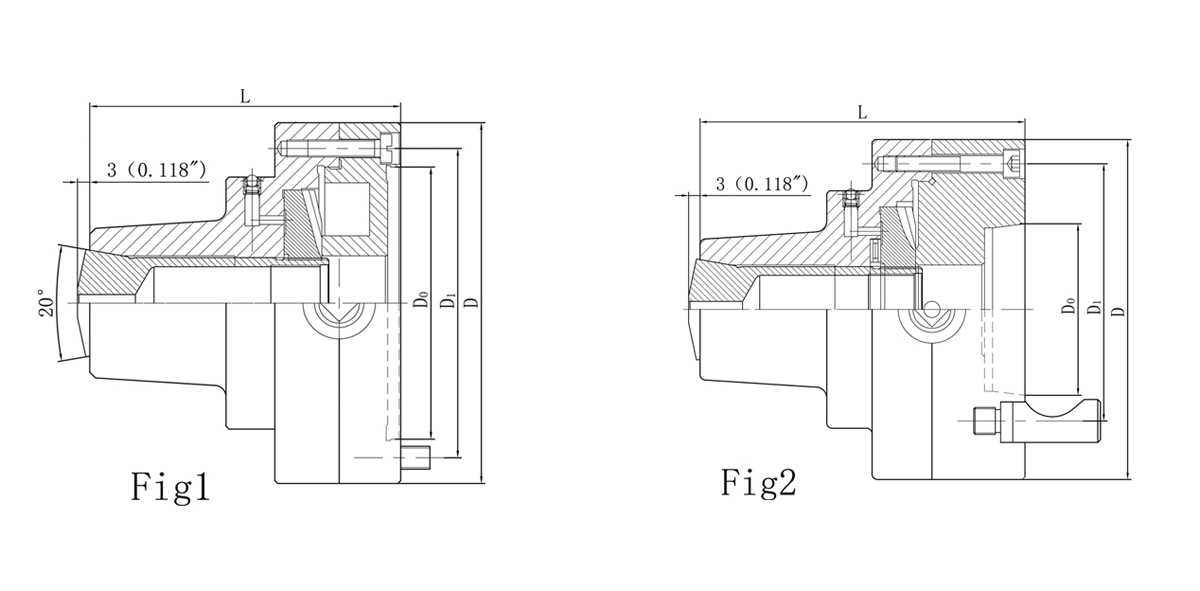
Схема продукта

5c Collet Chuck.jpg


Параметр продукта


5c Collet Chuck.jpg



Преимущества продукта

5C Collet Chack изготовлен из закаленной сплавной стали. Процесс термообработки улучшает устойчивость к износу, гарантирует, что точность зажима будет стабильной в пределах ± 0,005 мм и соответствует строгим требованиям точного поворота и шлифования. Поддержите диаметр заготовки диапазоном от 1/16 «до 1-1/16» (около 1,6 мм ~ 27 мм), адаптируйтесь к стандартному эластическому коллете 5C и замените кольт всего за несколько секунд, значительно сокращая время простоя. Интегрированная конструкция структуры, динамическая обработка баланса, чтобы избежать вибрации во время высокоскоростного вращения; Встроенное пылепроницаемое герметизирующее кольцо продлевает срок службы ключевых компонентов и снижает стоимость технического обслуживания. Он может быть сопоставлен с механизмом автоматического натяжения (такого как пневматический/гидравлический диск) и беспрепятственно интегрирован в машины ЧПУ или системы манипуляции для реализации эффективной работы беспилотных производственных линий.


5c Collet Chuck.jpg5c Collet Chuck.jpg



Дополнительные аксессуары

Наш продукт предлагает различные дополнительные конфигурации.Дополнительные аксессуары, такие как полу готовая резьба и 5C -круглое Collet , 5C Collet, мы можем соответствовать разнообразным требованиям пользователей в отношении точности и стабильности.


5c Collet Chuck.jpg



Шаг установки 5C Collet Chuck


5c Collet Chuck.jpg



Качественная проверка

Jiehe Machinery владеет ведущим производственным заводом и инспекционным центром инспекции и тестированию в Китае, с производственными возможностями ранжируется среди вершины. Наше основное производственное и испытательное оборудование включают Grob, Takisawa, Doosan, Haimer, Kelch, Zoller, Mitutoyo и т. Д., И мы также обладаем всеми стандартными держателями инструментов и датчиками держателей инструментов от немецкого Diebold. Использование этого оборудования дополнительно обеспечивает превосходство нашей эффективности производства и качества продукции.

У нас есть интеллектуальная производственная линия, которая обеспечивает стабильность качества продукта и значительно повышает эффективность производства.


5c Collet Chuck.jpg5c Collet Chuck.jpg



Фотографии продуктов в мастерской

Наша мастерская поддерживает надежный инвентарь полуфабрикаты, обеспечивая устойчивую поставку и позволяя нам уточнить сжатые сроки со скоростью и эффективностью. Благодаря оптимизированным производственным процессам и хорошо организованной цепочке поставок мы гарантируем быстрое время переключения без ущерба для качества. Наша опытная команда и современные объекты позволяют нам быстро реагировать на требования клиентов, предлагая гибкие решения и быстрая доставка, чтобы ваши операции работали без гладкого.


5c Collet Chuck.jpg5c Collet Chuck.jpg5c Collet Chuck.jpg



Фабрика отображения

Jining Jiehe Machinery Co., Ltd., основанная в 2000 году, является национальным высокотехнологичным предприятием и провинциальным технологическим и инновационным и инновационной компанией. Специализируясь на аксессуарах с ЧПУ с ЧПУ, компания предлагает более 1000 сортов продукции, причем 60% продуктов экспортируются. С более чем 200 машинами с ЧПУ и командой из более чем 100 сотрудников, Jiehe заработал более 30 национальных патентов и признан своими известными товарными знаками, такими как Cncjiehe, Sun Moon Lake и Goose. Компания регулярно участвует в международных выставках в Пекине, Шанхае, США, Германии, Италии и Токио, создавая сильное присутствие на мировом рынке. Благодаря сравнению ведущих компаний в Германии и Японии Jiehe добилась быстрого развития и создал комплексную производство и базу исследований и разработок с дочерними компаниями в Джининге, Шаньдун, Сучжоу и за его пределами.


5c Collet Chuck.jpg5c Collet Chuck.jpg5c Collet Chuck.jpg5c Collet Chuck.jpg5c Collet Chuck.jpg






Оставляйте свои сообщения

Сопутствующие товары

x

Популярные продукты

x